chassis truck is primarily designed to support circuit breakers, transformers, and other components in withdrawable switchgear. It facilitates the pushing and extraction of the chassis. As an auxiliary operation, it connects components and busbars. When operated with the internal mechanism of the circuit breaker and the interlock mechanism of the mid-placed cabinet, it meets the interlock requirements of the “5 Preventions” stipulated in GB3906. The specific functions are as follows:
The circuit breaker can only be closed when the handcart is in the testing, isolating, or working position. When the handcart is in the locked state, this prevents misconnection and mismatched isolation contacts with the load.
If the handcart is in the working position or moves 110mm away from the testing/isolating position, the earthing switch fails to close, thus avoiding unintentional operation of the switch.
When the earthing switch is closed, the handcart cannot shift from the testing/isolating position to the working position, preventing the circuit breaker from closing inadvertently.
Once the chassis enters the cabinet and moves away from the testing/isolating position, the handcart cannot be drawn out of the cabinet.


Note: There are five types of lock plates available for selection. The standard specification is 8B.141.012. If you require any of the other four lock plates, please specify your choice when placing the order.

The DPC-4A-550 chassis truck is a high-quality component designed for KYN28A high voltage switchgear. Engineered to match Vd4 standards, it features integrated earthing contacts for maximum operational safety. Its design ensures seamless integration into switchgear assemblies while maintaining high durability, reliability, and precision for industrial applications.
This article provides a comprehensive overview of the product, including transportation requirements, technical support, product performance, and installation guidelines, adhering to Google SEO optimization standards for B2B and industrial audiences.
Compatibility: Designed to match Vd4 chassis standards.
High Voltage Rating: Suitable for KYN28A switchgear.
Safety: Equipped with earthing contacts for enhanced operator protection.
Durability: Constructed with industrial-grade materials for long service life.
Precision Engineering: Ensures seamless integration with high voltage switchgear assemblies.
Power distribution substations.
Industrial high voltage Switchgear Installations.
Electrical maintenance and refurbishment projects.
High safety requirement environments for electrical engineering.
| Parameter | Specification |
|---|---|
| Model | DPC-4A-550 |
| Compatibility | Vd4 standard chassis |
| Rated Voltage | High Voltage (KYN28A Switchgear) |
| Earthing Contacts | Integrated for safety |
| Material | Industrial-grade steel and composites |
| Installation Type | Sliding or fixed chassis integration |
| Operating Temperature Range | -40°C to +60°C |
| Weight | 550 kg (approximate) |
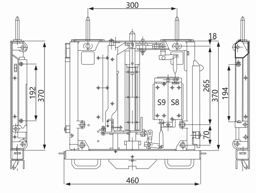
| Dimensions (L×W×H) | 1200 × 800 × 400 mm |
| Compliance Standards | IEC 62271-200, Vd4 standards |
The DPC-4A-550 Chassis truck delivers superior performance across all industrial applications. Its robust design ensures high mechanical strength to withstand operational stress. Earthing contacts provide safe discharge paths, reducing electrical hazards during maintenance or operation.
Resistant to mechanical shocks and vibrations.
Minimal maintenance requirements due to high-quality materials.
Stable operation even in high-temperature environments.
Integrated earthing contacts reduce the risk of electrical accidents.
Meets international safety standards including IEC and Vd4 regulations.
Designed for safe handling during installation and maintenance.
Streamlined design facilitates fast assembly in switchgear units.
Reduces downtime during maintenance cycles.
Enhances operational consistency in high voltage systems.
Proper installation is critical to ensure optimal performance and safety. Follow these steps:
Verify the chassis truck model against your switchgear specifications.
Inspect earthing contacts for any visible damage.
Ensure all mounting hardware is present.
Align the DPC-4A-550 chassis truck with the Vd4 standard mount.
Secure the chassis using appropriate bolts and fasteners.
Connect earthing contacts to the designated grounding points.
Perform electrical continuity checks.
Test sliding mechanisms (if applicable) for smooth operation.
Confirm proper alignment with switchgear.
Ensure earthing contacts are functional.
Check for mechanical stability and clearance.
Transporting high voltage switchgear components requires careful handling to avoid damage.
Use reinforced crates or pallets.
Protect earthing contacts with padding.
Mark with “Fragile” and “High Voltage Component” labels.
Use forklifts or cranes with appropriate weight limits.
Avoid dropping or tilting the chassis truck beyond safe angles.
Ensure the vehicle suspension reduces vibration during transport.

Store in dry, ventilated areas away from corrosive chemicals.
Avoid stacking beyond recommended weight limits.
Maintain ambient temperature between -20°C and +60°C.
The DPC-4A-550 chassis truck comes with comprehensive technical support to ensure smooth operation.
Installation guidance via manuals and on-site consultation.
Troubleshooting support for electrical and mechanical issues.
Spare parts availability for earthing contacts and mounting hardware.
Custom configuration support for special applications.
Perform periodic inspections of earthing contacts.
Lubricate mechanical joints every 6 months.
Replace damaged fasteners promptly.
Conduct electrical continuity tests annually.
Clean the chassis using non-corrosive cleaning agents.
Check for mechanical wear and corrosion.
Inspect grounding connections for integrity.
Schedule inspections every 6–12 months.
Conduct load tests to ensure operational reliability.
Document all maintenance activities for compliance.
| Issue | Possible Cause | Recommended Action |
|---|---|---|
| Loose chassis mounting | improper installation | Re-tighten bolts and align |
| Earthing contact failure | Corrosion or mechanical wear | Replace or clean contacts |
| Sliding mechanism obstruction | Debris accumulation | Clean and lubricate |
| Vibration or noise | Misalignment | Re-align chassis truck |
Customers report significant improvements in operational safety.
Reduced maintenance downtime due to robust construction.
Easy installation and integration with existing KYN28A switchgear.
Industrial Power Plant: Reduced electrical hazards and improved grounding efficiency.
Substation Upgrade Project: Achieved faster installation time with DPC-4A-550 chassis trucks.
Maintenance Contract: Lowered repair costs due to durable construction and reliable earthing contacts.
High compliance with Vd4 and IEC standards.
Enhanced earthing contact design for operator safety.
Durable, corrosion-resistant materials.
Optimized for easy transport and installation.
Comprehensive technical support and maintenance guidance.
Environmentally friendly materials used in manufacturing.
Designed to minimize risk of electrical accidents.
Recyclable components reduce environmental impact.
Meets global high voltage safety standards.
The DPC-4A-550 Chassis Truck (match Vd4) with Earthing Contacts is an essential component for KYN28A high voltage switchgear applications. It offers robust performance, reliable earthing, and ease of installation. With proper maintenance and adherence to technical guidelines, this chassis truck ensures safe, efficient, and durable operation for high voltage industrial environments.
Phone: +8613736779975
E-mail: sales@vcbbreaker.com
Address: 66 Punan Road, Yueqing Economic Development Zone, Zhejiang, China
Copyright © 2025 Eberry Electric Group All rights reserved
This website uses cookies to ensure you get the best experience on our website.