

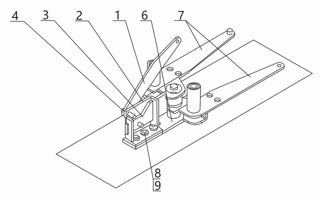
Drawing of valve mechanism device 5EB.320.010/1ZS installation drawing
Working Principle
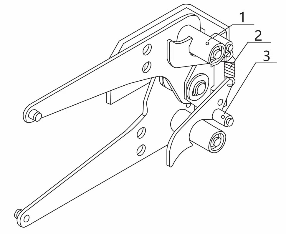
No.3 arc plate locks the No.1 rollers on both the left and right plates to achieve self-interlocking.
When the vacuum circuit breaker (VCB) moves from the testing position to the working position, the VCB’s side pushers will press the No.3 arc plate upwards, causing it to rotate to the middle. This unlocks the self-locking mechanism, allowing the shutter mechanism to open normally.
When the VCB is withdrawn, the No.3 arc plate is pushed back into position by the No.2 tension spring, locking the No.1 rollers and securing the shutter mechanism in the locked position.


In modern power distribution systems, ensuring operational safety and equipment reliability is crucial. The shutter mechanism interlocking for 12kV high voltage switchgear Component 5EB320.0101ZS is an essential device designed to enhance the safety, efficiency, and protection of medium-voltage Switchgear Installations.
This component is widely used in industrial plants, utility networks, and commercial facilities where high-voltage power distribution is critical. Its primary function is to prevent unsafe access and unintended operations, providing both operational safety and compliance with electrical standards.
A shutter mechanism interlocking system is a safety device integrated into high-voltage switchgear. Its primary purpose is to ensure that switchgear operations, such as opening or closing circuit breakers, are performed only when it is safe to do so.
Key functions include:
Preventing accidental contact with live components
Interlocking doors or shutters to avoid unsafe access
Coordinating operations between multiple Switchgear Components
The 5EB320.0101ZS model is specifically engineered for 12kV medium-voltage switchgear, ensuring high reliability and precise mechanical operation in indoor electrical installations.
The 5EB320.0101ZS shutter mechanism offers a range of advanced features:
Voltage Rating: 12kV, suitable for medium-voltage switchgear
Robust Mechanical Design: Ensures long operational life
Precision Interlocking: Prevents unauthorized access to live components
Durable Materials: Designed to withstand wear, environmental factors, and frequent operations
Compact Structure: Fits efficiently within switchgear panels
Compliance with Standards: Adheres to IEC and local electrical safety standards
Reliable Performance: High mechanical reliability ensures minimal downtime
These features make the shutter mechanism interlocking system an indispensable safety component in modern switchgear.
Typical specifications for the Shutter Mechanism Interlocking 5EB320.0101ZS include:
Rated Voltage: 12kV
Component Type: Shutter Mechanism Interlocking
Mounting Type: Fixed within indoor switchgear
Operating Temperature: -10°C to +50°C
Mechanical Life: Over 20,000 operations
Interlocking Accuracy: ±0.1mm
Material: High-strength steel and insulated polymer components
These specifications ensure durability, reliability, and precise operation for medium-voltage applications.
The shutter mechanism interlocking works by physically blocking access to live components until the switchgear is in a safe state.
Closed Position: The shutter covers all live components to prevent accidental contact.
Interlocked Operation: Only when the breaker is in the open or safe state will the mechanism allow access.
Sequential Control: Prevents unSafe Operations by requiring proper sequence in operating the switchgear.
Reset and Locking: After operation, the shutter returns to its default protective position, ensuring continuous safety.
This mechanism ensures that personnel and equipment are protected during maintenance and operation.
By preventing direct contact with live components, the shutter mechanism interlocking reduces the risk of electrical accidents.
The mechanical design ensures consistent performance, minimizing errors and operational delays.
Meets IEC 62271 and other medium-voltage safety standards, ensuring regulatory compliance.
High-quality materials and precise engineering guarantee long service life and minimal maintenance.
Low-wear components and robust design reduce the need for frequent replacement or repair.
The 5EB320.0101ZS is suitable for various medium-voltage switchgear applications, including:
Industrial Plants: Ensuring safety in factories with heavy electrical loads.
Power Utilities: Protecting operators in substations.
Commercial Complexes: Maintaining safe operations in office and retail buildings.
Renewable Energy Installations: Ensuring safe access in solar or wind power stations.
Transportation Infrastructure: Airports, railways, and metro systems.
Its versatility makes it an ideal choice for any Indoor 12kV Switchgear setup requiring secure interlocking.

Proper installation is essential for optimal performance:
Verify Compatibility: Ensure the 5EB320.0101ZS is compatible with your switchgear model.
Mount Securely: Fix the interlocking mechanism according to manufacturer instructions.
Check Alignment: Ensure the shutter properly covers live components.
Test Operation: Operate the switchgear to verify interlocking functions.
Routine Inspection: Periodically check for wear or misalignment.
Correct installation guarantees safety, operational reliability, and long-term performance.
Though low-maintenance, periodic checks are recommended:
Inspect mechanical components for wear or damage
Lubricate moving parts if required
Test interlocking functions monthly
Ensure proper alignment of shutters and safety locks
Replace worn parts promptly to maintain safety standards
With proper care, the shutter mechanism can operate reliably for decades.
Compared to electrical or electronic interlocking systems:
Mechanical shutter interlocks provide direct physical protection and are less prone to failure.
Electrical interlocks may fail during power outages or faults.
Hybrid systems combine mechanical and electrical interlocks but often cost more.
The 5EB320.0101ZS offers a balanced solution of reliability, safety, and cost-effectiveness for indoor 12kV switchgear.
Integration with digital monitoring systems for predictive maintenance
IoT-enabled interlocks for real-time operational data
Compact and modular designs for urban substations
Enhanced materials for even longer operational life
The 5EB320.0101ZS shutter mechanism interlocking remains relevant in these evolving power distribution trends.
The Shutter Mechanism Interlocking 5EB320.0101ZS for 12kV high voltage switchgear component is a critical safety and operational device for medium-voltage indoor switchgear. Its robust design, precise interlocking, and compliance with safety standards ensure protection for operators and equipment.
For engineers, technicians, and facility managers, the 5EB320.0101ZS offers reliable, efficient, and long-term solution in power distribution systems, making it a preferred choice for modern electrical infrastructure.
Phone: +8613736779975
E-mail: sales@vcbbreaker.com
Address: 66 Punan Road, Yueqing Economic Development Zone, Zhejiang, China
Copyright © 2025 Eberry Electric Group All rights reserved
This website uses cookies to ensure you get the best experience on our website.