wall bushings serve as critical electrical components, facilitating connections between high-voltage cables and equipment such as transformers and circuit breakers. The structure generally consists of an inner cylinder, outer cylinder, insulating sleeve, support ring, and support bucket. Key advantages include superior strength, high resistance to breakdown, protection against pollution flashover, and excellent corrosion resistance.

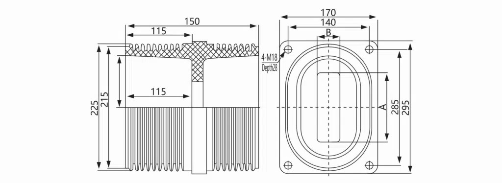
| A | 110 | 110 | 135 | 135 | 135 | 88 | 90 | 135 | 130 |
| B | 18 | 48 | 45 | 60 | 40 | 18 | 40 | 20 | 60 |
The TG6-12-170X230 12kV Insulated wall bushing is a high-performance epoxy resin bushing designed for safe, reliable insulation in high-voltage switchgear systems. Engineered to withstand thermal, mechanical, and electrical stresses, it ensures optimal performance in medium and high-voltage applications.
This guide provides a comprehensive overview covering product advantages, technical support, warranty policies, and frequently asked questions, helping engineers, procurement specialists, and technical personnel maximize the efficiency and longevity of electrical installations.
The TG6-12-170X230 bushing is designed for High Voltage insulation and safe conductor passage in switchgear cabinets.
Rated Voltage: 12kV
Material: Epoxy resin
Dimensions: 170×230 mm
Current Capacity: Suitable for medium and high-voltage systems
Mechanical Durability: High resistance to vibration, impact, and thermal stress
Standards Compliance: IEC 62271, IEEE, RoHS
| Feature | Specification | Benefit |
|---|---|---|
| Rated Voltage | 12kV | Ensures safe insulation for high-voltage systems |
| Material | Epoxy Resin | High dielectric strength, thermal and mechanical stability |
| Dimensions | 170×230 mm | Compact and standardized for switchgear cabinets |
| Current Capacity | Nominal rated current | Reliable energy transmission |
| Dielectric Strength | 42/75 kV | High-voltage insulation safety |
| Mechanical Resistance | IEC compliant | Resistant to vibration, shocks, and environmental stress |
| Temperature Range | -40°C to +120°C | Reliable under extreme conditions |
| Mounting Type | Through-wall | Simple and secure installation |
| Weight | 9.5 kg | Lightweight for easier handling |
| Environmental Compliance | RoHS | Eco-friendly and sustainable |
TG6-12-170X230 combines mechanical strength, thermal stability, and electrical insulation to meet the rigorous demands of high-voltage switchgear applications.
Epoxy Resin Construction: Ensures high dielectric performance and long-term durability.
Thermal and Mechanical Stability: Maintains performance under load and vibration.
Optimized Dimensions: 170×230 mm form factor allows seamless integration into switchgear cabinets.
Environmental Compliance: Materials are RoHS-certified, safe, and eco-friendly.
User-Centric Design: Simplified installation and maintenance procedures.
Provides excellent dielectric properties, reducing risk of electrical faults.
Reliable for medium and high-voltage operations.
Withstands vibrations, shocks, and thermal cycles.
Extends operational lifespan and minimizes maintenance needs.
Ensures efficient heat dissipation under nominal current.
Supports continuous operation in high-temperature environments.
Through-wall mounting allows quick integration into existing switchgear.
Pre-designed dimensions simplify cabinet retrofits.
RoHS-certified epoxy resin is safe and sustainable.
Long service life reduces material waste and environmental impact.
| Advantage | Description | Benefit |
|---|---|---|
| Electrical Insulation | High dielectric strength | Reliable and Safe Operation |
| Mechanical Strength | Resistant to shocks and vibration | Longer lifespan |
| Thermal Stability | Maintains performance at high temperatures | Continuous operation without failure |
| Easy Installation | Standardized dimensions and mounting | Quick and secure setup |
| Environmental Compliance | RoHS certified | Safe and sustainable |
| Maintenance Friendly | Simple visual inspection | Reduced downtime |
| Versatile Applications | Industrial, utility, renewable energy | Wide operational use |
| Durability | Epoxy resin construction | Long-term reliability |
TG6-12-170X230 customers benefit from comprehensive technical assistance to ensure proper installation, operation, and maintenance.
Installation Guidance: Step-by-step instructions for through-wall mounting.
Operational Consultation: Expert advice on current rating, voltage, and thermal management.
Maintenance Assistance: Recommendations for routine inspection and cleaning procedures.
Performance Testing: Guidance on dielectric testing and thermal monitoring.
Replacement and Spare Parts: Authorized supply of compatible components.
| Support Type | Service Description | Availability |
|---|---|---|
| Installation | Step-by-step guidance | Online and onsite |
| Operational Consultation | Load and voltage optimization | Remote and in-person |
| Maintenance | Routine inspection tips | Scheduled or as-needed |
| Testing Assistance | Dielectric and thermal tests | Remote support |
| Spare Parts | Replacement bushings | Authorized distributor network |
Inspect bushing for cracks, discoloration, or surface damage.
Ensure power is disconnected before installation.
Prepare mounting hardware, tools, and personal protective equipment (PPE).

Align Bushing with Wall Opening: Ensure proper positioning.
Secure Mounting Bolts: Follow manufacturer torque specifications.
Connect Busbars: Tighten connections for secure electrical contact.
Conduct Dielectric Test: Verify insulation before energizing.
Power-On Monitoring: Observe temperature and operational behavior during initial load.
Avoid over-tightening bolts to prevent epoxy resin damage.
Ensure adequate ventilation around bushing.
Do not exceed nominal current rating.
Visually check for cracks, surface defects, or discoloration.
Inspect mounting bolts and electrical connections for tightness.
Use soft brushes or compressed air to remove dust.
Avoid harsh chemicals and abrasive cleaning tools.
Measure insulation resistance with a megohmmeter.
Monitor temperature rise under operational load.
Listen for unusual noises or partial discharge.
| Maintenance Task | Frequency | Notes |
|---|---|---|
| Visual Inspection | Monthly | Detect early damage or wear |
| Terminal Torque Check | Quarterly | Ensure secure electrical contact |
| Insulation Resistance Test | Semi-Annually | Maintain dielectric integrity |
| Thermal Monitoring | Annually | Confirm proper heat dissipation |
| Comprehensive System Check | Annually | Evaluate mechanical and electrical performance |
| Problem | Cause | Solution |
|---|---|---|
| Overheating | Excessive load | Reduce current or improve ventilation |
| Partial Discharge | Surface contamination | Clean or replace bushing |
| Mechanical Damage | Shock or vibration | Replace damaged bushing |
| Sparking | Loose connections | Tighten terminals and inspect busbars |
| Noise | Vibration | Secure mounting and inspect connections |
| Corrosion | Moisture ingress | Apply protective coatings and maintain dry environment |
Standard Warranty: 24 months from delivery date.
Coverage: Manufacturing defects, material failures, and dielectric performance issues.
Exclusions: Misuse, overload, or improper installation.
Quality Assurance: Each bushing undergoes dielectric, thermal, and mechanical testing prior to shipment.
| Warranty Feature | Description | Duration |
|---|---|---|
| Manufacturing Defects | Free replacement | 24 months |
| Material Failure | Covered by warranty | 24 months |
| Electrical Performance | Dielectric & current rating compliance | 24 months |
| Exclusions | Misuse or incorrect installation | N/A |
| Parameter | Specification |
|---|---|
| Rated Voltage | 12kV |
| Dielectric Strength | 42/75 kV |
| Partial Discharge | ≤5 pC |
| Current Capacity | Nominal busbar current |
| Material | Epoxy Resin |
| Operating Temperature | -40°C to +120°C |
| Mechanical Resistance | IEC 62271 compliant |
| Mounting Type | Through-wall |
| Dimensions | 170×230 mm |
| Weight | 9.5 kg |
| Environmental Compliance | RoHS |
Industrial Plants: Highlight reliability under continuous high-voltage operation.
Utility Companies: Appreciate mechanical and thermal durability.
Renewable Energy Installations: Value compact dimensions and simplified installation.
Testimonial:
"TG6-12-170X230 wall bushing offers exceptional dielectric performance and mechanical stability, ensuring safe operation in high-voltage switchgear cabinets." – Electrical Engineer, Renewable Energy Sector
RoHS-certified, free of hazardous materials.
Epoxy resin ensures long service life and eco-friendly disposal.
Manufactured using low-emission, energy-efficient processes.
Supports sustainability initiatives for electrical equipment.
The TG6-12-170X230 12kV Insulated Wall Bushing Epoxy Resin high voltage switchgear offers:
High dielectric strength for safe insulation
Mechanical durability under vibration and thermal stress
Simplified installation and maintenance
Comprehensive technical support and warranty coverage
Environmentally compliant, RoHS-certified materials
This bushing provides reliable, long-lasting, and safe performance in medium and high-voltage switchgear, making it an ideal choice for industrial, utility, and renewable energy applications.
Phone: +8613736779975
E-mail: sales@vcbbreaker.com
Address: 66 Punan Road, Yueqing Economic Development Zone, Zhejiang, China
Copyright © 2025 Eberry Electric Group All rights reserved
This website uses cookies to ensure you get the best experience on our website.